本文主要探讨,帮助读者更好地了解电机的运行机理和故障处理方法。

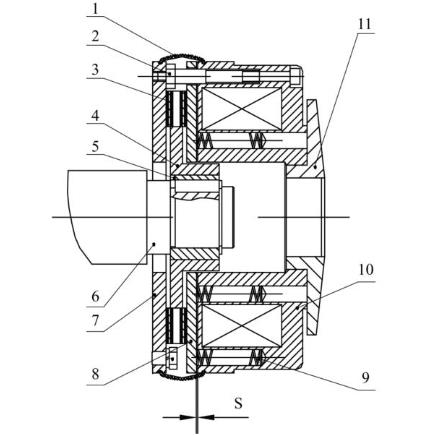
交流电机是一种将电能转化为机械能的装置,广泛应用于各种工业领域。交流电机按照转子类型可分为异步电机和同步电机两种,其中异步电机又分为单相异步电机和三相异步电机。交流电机的主要构成部分包括转子、定子、端盖、轴承等。
交流电机的发展历程可以追溯到19世纪初,当时科学家们开始研究电磁感应现象和电动力学理论。在此基础上,人们逐渐发明了各种类型的电机,其中交流电机因其高效、稳定等特点而成为工业生产中的主要动力来源。
特征与特点
交流电机具有转速稳定、结构简单、输出功率大等特点,但在实际应用中也会出现偶尔反转的问题。这种现象可能由于电机本身的故障、电源电压不稳定、负载过大等原因引起。交流电机反转会影响生产效率和设备寿命,因此需要及时处理。
交流电机广泛应用于各种工业领域,如机械制造、矿山、石油化工、冶金等。在这些领域中,交流电机往往扮演着重要的角色,提供动力支持和运转保障。
目前,学术界和工业界对交流电机的研究主要集中在提高效率、降低噪音、延长寿命等方面。随着电力电子技术的不断发展,交流电机的控制技术也在不断创新,为实现更智能化、高效化的电机控制提供了新的思路。
展望与发展
未来,交流电机将继续发挥着重要的作用,随着工业自动化水平的不断提高,对电机控制精度和性能的要求也将越来越高。因此,未来交流电机的发展趋势将是向智能化、高效化、绿色化方向发展,以更好地适应现代工业的需求。
